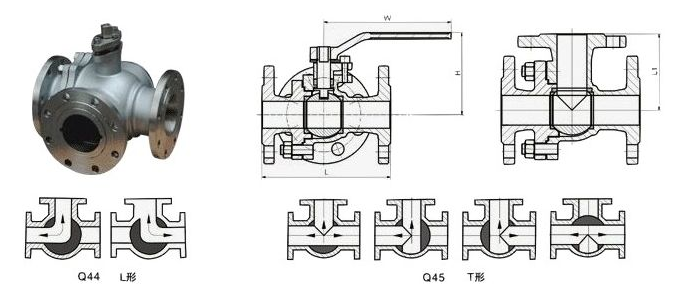
不锈钢T型三通球阀及不锈钢L型三通球阀的工作原理及结构图
作为工业大国的中国,阀门这个传统行业一直在不断发展,阀门种类繁琐。不锈钢三通球阀凭借其流体阻力小、结构简单、体积小、重量轻、适用范围广等优点而深受消费者喜爱。
不锈钢三通球阀性能特点和工作原理。
不锈钢三通球阀结构特点:
上装式结构:对装在管道上的阀门可直接在线检查与维修,能有效减少装置停车,降低成本。本类阀门在管道中一般应当水平安装;
启闭无摩擦:完全解决了传统阀门因密封面之间相互摩擦而影响密封的问题;
低扭矩设计。特殊结构设计的阀杆,只需配一个小手把阀门就能轻松启闭;
楔形密封结构。阀门是靠阀杆提供的机械力,将球楔压到阀座上而密封,使阀门的密封性不受管线压差变化的影响,在各种工况下密封性能都有可靠保证;
密封面的自清洁结构。当球体倾离阀座时,管线中的流体沿球体密封面成360°均匀通过,不仅消除了高速流体对阀座局部的冲刷,也冲走了密封面上的聚积物,达到自清洁的目的。
不锈钢三通球阀具有以下优点:
1.流体阻力小,其阻力系数与同长度的管段相等;
2.结构简单、体积小、重量轻;
3.紧密可靠,目前球阀的密封面材料广泛使用塑料、密封性好,在真空系统中也已广泛使用;
4.操作方便,开闭迅速,从全开到全关只要旋转90°,便于远距离的控制;
5.维修方便,球阀结构简单,密封圈一般都是活动的,拆卸更换都比较方便;
6.在全开或全闭时,球体和阀座的密封面与介质隔离,介质通过时,不会引起阀门密封面的侵蚀;
7.适用范围广,通径从小到几毫米,大到几米,从高真空至高压力都可应用。
工作原理:
在开启过程中
1在关闭位置,球体受阀杆的机械施压作用,紧压在阀座上。
2当逆时针转动手轮时,阀杆则反向运动,其底部角形平面使球体脱开阀座。
3阀杆继续提升,并与阀杆螺旋槽内的导销相互作用,使球体开始无摩擦地旋转。4直至到全开位置,阀杆提升到极限位置,球体旋转到全开位置。
当关闭过程中:
1关闭时,顺时针旋转手轮,阀杆开始下降并使球体离开阀座开始旋转。
2继续旋转手轮,阀杆受到嵌于其上螺旋槽内的导销的作用,使阀杆和球体同时旋转90°。
3快要关闭时,球体已在与阀座无接触的情况下旋转了90°。
4手轮转动的较后几圈,阀杆底部的角形平面机械地楔向压迫球体,使其紧密地压在阀座上,达到完全密封。
不锈钢T型三通球阀结构图:
不锈钢L型三通球阀结构图:
【声明】:
以上文章或资料除注明为上海威尔顿阀门有限公司自创或编辑整理外,均为各方收集或网友推荐所得。其中摘录的内容以共享、研究为目的,不存在任何商业考虑。
目前网站上有些文章未注明作者或出处,甚至标注错误,此类情况出现并非不尊重作者及出处网站,而是因为有些资料来源的不规范。如果有了解作者或出处的原作者或网友,请告知,本网站将立即更正注明,并向作者道歉。
被摘录的对象如有任何异议,请与本站联系,联系邮箱szweierdun@126.com,本站确认后将立即撤下。谢谢您的支持与理解!


